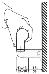
Figure 39c
Size and Spacing of Handrails and Grab Bars
Handrail
Back to ADAAG
List of Figures