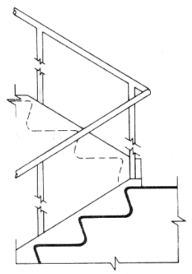
Stair Handrails - Elevation of Center Handrail

Figure 19b
Stair Handrails - Elevation of Center Handrail

NOTE:
X is the 12 in minimum handrail extension required at each top riser.
Y is the minimum handrail extension of 12 in plus the width of one tread that is required at each bottom riser.
 

Back to ADAAG             List of Figures