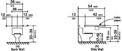
Figure 29
Grab Bars at Water Closets
Fig. 29(a) Back Wall. A 36 inch (915 mm) minimum length
grab bar is required behind the water closet mounted at a height
between 33 and 36 inches (840-915 mm). The grab bar must extend a
minimum of 12 inches (305) beyond the center of the water closet
toward the side wall and a minimum of 24 inches (610 mm) toward
the open side for either a left or right side approach.