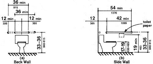
Grab Bars at Water Closets

Figure 29
Grab Bars at Water Closets

Fig. 29(a) Back Wall. A 36 inch (915 mm) minimum length grab bar is required behind the water closet mounted at a height between 33 and 36 inches (840-915 mm). The grab bar must extend a minimum of 12 inches (305) beyond the center of the water closet toward the side wall and a minimum of 24 inches (610 mm) toward the open side for either a left or right side approach.
 

Back to ADAAG             List of Figures