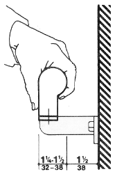
Size and SPacing of Handrails and grab Bars 
- Handrial
Figure 39c
Size and Spacing of Handrails and Grab Bars
Handrail

Back to ADAAG             List of Figures